Pipeline Plugging & Line Stopping
Without System Shutdown
ETM, LLC. plugging services are essential when specific sections of a pipeline or pressurized system need repair or replacement without system shutdown. Utilized with our hot tapping machines, our patented plugging machines provide effective sealing solutions for pipeline repair, reconstruction, or replacement. Our service methods (shown below) address a variety of plugging techniques unique to specific needs, and our plugging machines work with a large scope of pipeline sizes, types, pressures, and materials. ETM, LLC is your solution for all pipeline plugging needs.
We realize the benifits of being the top standard in technology, which is why ETM, LLC is constantly pushing innovation, discovery, and adaptability to be the leading force of plugging services and products for pipelines and pressurize systems. Our patented plugging technology provides cutting-edge solutions for pipeline sealing and our range of service methods ensure we can rise to the need of any customer or project.



















Our standard hot tapping and plugging procedures are also suitable for the construction and servicing of low pressure PE pipelines with our specialty PE hot tapping and plugging equipment.
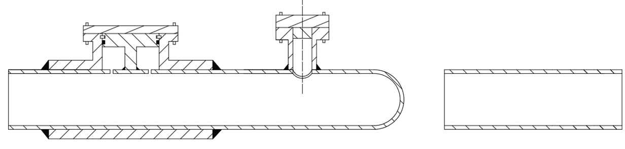
(when the max transmission medium flow rate in the pipeline is 5m/s, it's more suitable for long distance pipeline replacement)

(when the max transmission medium flow rate in the pipeline is 5m/s, it's more suitable for long distance pipeline replacement)

Because of our large range of services and equipment, as well as variables in pipeline parameters and specifications, we highly encourage interested customers to take advantage of our complimentary consultations and quotations. This allows our engineers to fully familiarize themselves with the site, system, and needed scope of services – additionally, it allows us to become better acquainted with you, the customer!